
The VERMOGEN Rockerschakelaar 10A-250V SPST offers seamless switching with its simple on-off functionality.
Equipped with an orange neon lamp, it provides clear indication of power status, ensuring safety and convenience during operation.
This switch supports high-capacity electrical environments, making it ideal for various applications ranging from household electronics to industrial machinery.
Built for endurance, the switch handles up to 10A current at 250V, ensuring reliability and long-lasting performance in demanding settings.
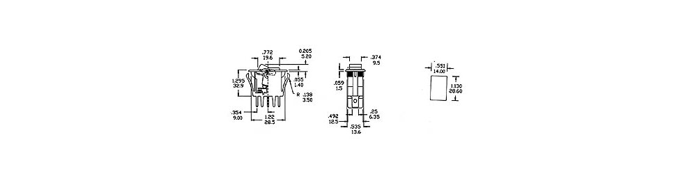
Its compact design facilitates easy installation, fitting neatly into panels without occupying excessive space.
| Brand | JEC |
| Model | R902/A |
| Type | "ON-OFF SPST" doesn't need translation since it's already a technical term in English. SPST stands for "Single Pole Single Throw," which refers to a basic type of switch. If you want it in a more casual way, you might say: "It's a simple on-off switch." |
| Dielectric strength | 1500Vac / 1 minute |
| Housing | 66 nylon (UL94V-2) |
| Insulation resistance | At least 100MΩ at 500Vdc |
| Note | with an orange neon lamp |
| Contact | The text "10A/250Vac, 16A/125Vac" refers to electrical specifications and doesn't need translation as it typically represents current and voltage ratings for appliances or electrical devices. It means: 10 Amps at 250 Volts AC and 16 Amps at 125 Volts AC. |
| Electric lifespan | 20,000 cycles |
| Contact resistance | "50 milliohm" |
| Connections | Silver-plated brass |
| Get in touch | Equipped with a spring |
| Mechanical lifespan | 50,000 cycles |
| Tuimelaarknop translates to "tumbler button" in English. | 66 nylon (UL94V-2) |
| Movable contacts | Silver-plated brass |
| Static contacts | Silver-plated brass |
| "Cover cap" | Amber |